续上节所言,不同的植物由于结构和叶绿素含量不同,具有不同的光谱特征,特别是近红外波段有较大的差别。
利用植物的物候差异下的光谱成像也可区分植物类型,如冬季落叶树和常绿树很好区别。植被生长不同状态下,例如病害侵扰下结构和叶绿素含量发生很大的变化,尤其是近红外波段与健康植物区别最为明显。
但影响植被波谱特征的主要因素不止包括植物类型、病虫害影响,植物生长季节等都会影响植被波谱特征
下面让我们细讲影响植物光谱的几个因素、主要植被类型的影像特征以及同一植被在不同季节的不同植被波谱特征。
(1)植物光谱的影响因素
l 叶绿素
植物叶片中含有多种色素,如叶青素、叶红素、叶绿素等。在可见光范围内,其反射峰值落在相应的波长范围内。植被可见光和近红外(350-800nm)反射光谱差异来源于植被体内叶绿素和其他色素成份,例如植物衰老、植物病虫害等。

不同颜色叶子的反射光谱曲线

不同生长状态橡树叶子的反射特性

不同状态长势松树的反射光谱曲线
植被因受到病虫害,农作物因缺乏营养、缺乏水分使其生长不良,植被波谱特征要发生变化,反映在影像上的色调形态的变化。例如海绵组织受到破坏,叶子色素发生了变化,至使在可见光区域内两个吸收谷(蓝、红)就不明显了。而绿光处反射峰值也会变低、变平;在近红外区,峰值被消低,甚至消失,整个光谱曲线的波状特征被拉平。因此,在遥感影像上,植被的信息体现不明显,与健康植被极易区分。
· 植被叶片构造
绿色植物的叶子是由上表皮、叶绿素颗粒组成的栅栏组织和多孔薄壁细胞组织(海绵组织)构成。
叶绿色对紫外线和紫色光的吸收率极高,对蓝色光和红色光也强吸收,以进行光合作用。对绿色光部分则部分吸收,部分反射,所以叶子呈绿色,并形成在0.55μm附近的一个小反射峰值,而在0.33~0.45μm 及0.65μm 附近有两个吸收谷。叶子的多孔薄壁细胞组织(海绵组织)对0.8~1.3μm的近红外光强烈地反射,形成光谱曲线上的最高峰区。
· 叶片含水量
上面提到叶片在1.45μm,1.95μm和2.6~2.7μm处各有一个吸收谷,这主要由叶子的细胞液、细胞膜及吸收水分所形成。植物叶子含水量的增加,将使整个光谱反射率降低,反射光谱曲线的波状形态变得更为明显,特别是在近红外波段,几个吸收谷更为突出。

植被绿色叶片与干叶片的光谱特性比较

不同水分含量小麦叶片光谱曲线
· 植被疏密度(覆盖度)
植被越茂密,覆盖程度越大,光谱特征形态受背景下垫面影响愈小。可以用叶面指数来说明植被疏密度,即植被叶片的累加面积总和与覆盖地面面积之比。

棉花叶片1-6层叠置的光谱曲线
(2)主要植被类型的影像特征
在当前分辨率遥感图像上,植被一般是群体的特征,反映个体的形态较为困难,只能依据纹理结构和色调识别出植被的类型、生长状况、分布范围等信息。
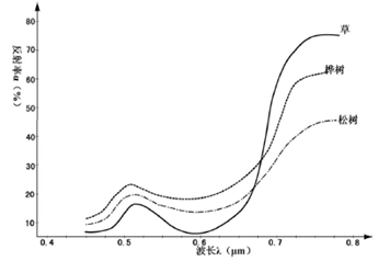
按照植被的波谱特征,不同植物由于叶片组织结构不同和所含色素不同,在0.55μm附近的一个小反射峰值,而在0.33~0.45μm及0.65μm附近有两个吸收谷,这些特征不同类型的植被具有不同程度的光谱特征。

不同植被的光谱反射曲线
对于植被生长的气候与植被本身的季节性特性,也对光谱曲线造成影响。首先对于落叶植被与常绿植被,在光谱曲线上的差别比较大,这样可以进行植被区分。其次,同种类型的植被在不同的气候与季节性变化下光谱曲线也会出现变化。

芦苇在春、夏、秋三季的反射率曲线
植被生长所在的综合地理环境(温度、水分、土壤类型、地形地貌等)也可以对植被的光谱反射曲线产生局部的差异。在尺度较大的高光谱影像上,植被的物理特征也可能是光谱反射特性影响较大的因素。植被的冠部分、顶部及投影的侧面形状、群落结构等都可能对植被的光谱特征造成一定的影响。例如阔叶林、针叶林、灌丛、草本植被等都具有不同的细部光谱特征。另外,植物在生长过程中如果受到某种外界侵扰、人工干预、物质污染后,内部结构、叶绿素和水分含量就会发生不同程度的变化,例如人工砍伐、缺水干枯、病虫害影响、生长所需营养元素缺乏等,这都可以使得植被的反射光谱特性发生变化。
推荐:
手持式地物光谱仪iSpecField-HH
用于野外遥感环境监测的最新产品,采用独有光学设计内置摄像头(相机)、GPS、激光指示器、内置光学快门控制、操作软件可设置自动采集模式(指定扫描次数和自动保存数据)使野外操作更加便捷方便,非常适合复杂的野外环境监测测量。

详情可见:http://www.lisenoptics.cn/shouchishidiwuguangpuyi/770.html
便携式地物光谱仪iSpecField-NIR
专门用于野外遥感测量、土壤环境、矿物地质勘探等领域的最新明星产品,由于其操作灵活、便携方便、光谱测试速度快、光谱数据准确是一款真正意义上便携式地物光谱仪。

详情可见:http://www.lisenoptics.cn/bianxieshidiwuguangpuyi/918.html
便携式地物光谱仪iSpecField-WNIR
采用了工业级触控显示屏手柄探头,手柄探头同时采用了独有光学设计内置摄像头(相机)、GPS、激光指示器、内置光学快门控制,同时地物光谱仪主机与工业级触控显示屏手柄探头一体化设计,可野外现场直接进行地物光谱操作测量,使野外操作更加便捷方便,非常适合复杂的野外地物光谱测量。

详情可见:http://www.lisenoptics.cn/bianxieshidiwuguangpuyi/771.html